Mazda is one of the very few automotive manufacturers that currently remains heavily invested in making the internal combustion engine a more sustainable and advanced concept. Most brands have already abandoned progressing their ICE technologies in favor of electrification, with a particular focus on energy storage advancements. Mazda has also heavily invested in electrification, but a new patent filing shows us that it is still trying to revolutionize gasoline combustion via an intriguing six-stroke proposal.
Available Models
Mazda
- Founded
-
January 30, 1920 (as Toyo Cork Kogyo Co)
- Founder
-
Jujiro Matsuda
- Headquarters
-
Hiroshima, Japan
- Owned By
-
Publicly Traded
- Current CEO
-
Masahiro Moro
Previous endeavors by the brand include reviving its rotary powertrain as a range-extender for the MX-30. The all-electric version of this model failed catastrophically when it was sold in California a few years ago, prompting the brand to pull it from the market. The brand was never able to adapt this drivetrain to meet American regulations, which is why it was never reintroduced to the region, but perhaps this unique hydrogen-based option will revive the brand’s American electrification endeavors.
In order to give you the most up-to-date and accurate information possible, the data used to compile this article was sourced from Mazda’s websites and other authoritative sources, including CarBuzz and EcoPortal.
Mazda’s Extensive ICE Development History
We’d Argue It’s Had Some Of The Wildest Engine Designs
As we’ve mentioned, Mazda is no stranger to developing unconventional engineering solutions that other carmakers would ever dream of even looking at. The company has spent decades perfecting the Wankel rotary, despite its inefficiencies and reliability issues. It also developed an incredible spark-controlled compression ignition engine and produced production gasoline engines with 14:1 compression ratios that still run on regular gasoline. Mazda’s latest patent, highlighting a six-stroke hydrogen-reforming combustion engine that aims to eliminate carbon dioxide emissions while still running on gasoline is another example of the brand pushing combustion boundaries, yet again.
The Brand’s Genius Six-Stroke Engine
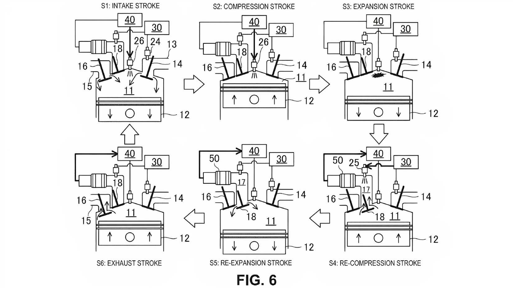
Mazda’s patent describes a six-stroke engine that keeps the familiar four stages but adds two new ones to reform fuel and recover carbon. This is similar but not identical to Porsche’s patent filing a little under a year ago. The first cycle still draws in air, and in some versions can also admit exhaust gas to simplify exhaust-gas recirculation. Compression and power strokes remain standard. The fourth stroke, however, diverges from tradition. Instead of expelling gases directly through the exhaust valve, the re-compression stroke pushes them out through a separate valve that routes flow into a reformer system.
How This Compares To A Four-Stroke Engine
For reference, the standard four-stroke cycle starts with an intake stroke, which is when a piston moves downward while air is drawn into the cylinder and mixed with fuel. The compression stroke follows, squeezing the mixture as the piston rises until the spark plug ignites it, producing the power stroke that drives the piston down and delivers torque. Finally, the exhaust stroke pushes burned gases out as the piston moves back up, preparing the engine for the next cycle. This process repeats thousands of times per minute in every conventional internal combustion engine.
Key Design Elements Of The New Engine
The Brand Applies Some Unique Components
Mazda’s reformer system works similarly to an exhaust system’s catalytic converter, but does not rely on precious metals like platinum. The new part is located just beneath a special injector, which provides a spray of gasoline into the stream of hot exhaust gases. The high temperatures break the hydrocarbons apart in the decomposer, splitting molecules such as C8H18 octane into hydrogen and solid carbon. The hydrogen is then sent back into the cylinder as a secondary fuel, while the carbon adheres to the catalyst and is later collected in a storage unit. This process removes carbon from the combustion process entirely, leaving hydrogen as the primary fuel to burn in subsequent cycles.
After the fourth re-compression stroke sends gases through the reformer, the engine enters the fifth cycle, referred to in the design as the re-expansion stroke. In this phase, the remaining air is drawn back into the cylinder for additional expansion work before being expelled in cycle six. This sixth stage functions similarly to the normal exhaust stroke, but follows the reforming process. The result is an engine that not only produces mechanical work but also performs on-board fuel reforming and carbon capture.
Repurposing Harmful Carbons
Instead of being emitted as carbon dioxide, the captured carbon accumulates in a dedicated recovery unit that gets emptied out during scheduled servicing. The filings note that the recovered carbon will find industrial uses in steel production, pigments, or other chemical processes. Storage alone prevents it from entering the atmosphere before servicing.




